Patentzeichnungen

Patentzeichnungen

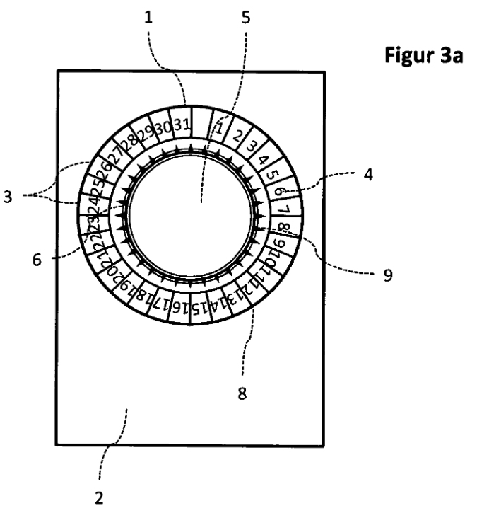
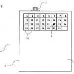
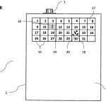
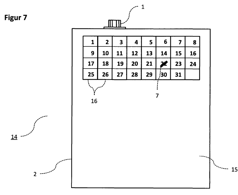
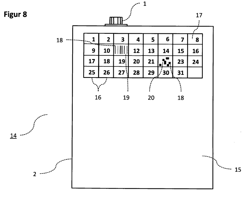
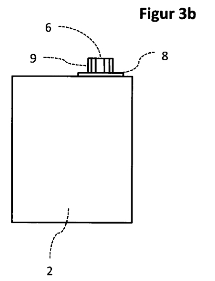
Für Beschreibungen der Patentzeichnungen siehe die detallierte Patentschrift
 

Figur 1